巴彦淖尔市自然资源局
  • 聚焦便民利企 提升服务效能——建设用地审批管理知识问答系列之二(用地预审与先行用地篇)

    来源: 发布时间:2023-12-15 10:26
    分享到:
    |
      一、建设项目用地预审与选址意见书办理的依据
      1.《建设项目用地预审管理办法》(第68号令);
      2.《中华人民共和国城乡规划法》第三十六条 按照国家规定需要有关部门批准或者核准的建设项目,以划拨方式提供国有土地使用权的,建设单位在报送有关部门批准或者核准前,应当向城乡规划主管部门申请核发选址意见书。前款规定以外的建设项目不需要申请选址意见书;
      3.《中华人民共和国土地管理法实施条例》第二十四条 建设项目批准、核准前或者备案前后,由自然资源主管部门对建设项目用地事项进行审查,提出建设项目用地预审意见。建设项目需要申请核发选址意见书的,应当合并办理建设项目用地预审与选址意见书,核发建设项目用地预审与选址意见书。
      二、建设项目用地预审与选址意见书的办理层级
      01
      自然资源部办理项目范围:
      涉及占用永久基本农田、占用生态保护红线的重大建设项目,向自然资源部提出用地预审申请,经自然资源部审核通过后,由自然资源厅核发建设项目用地预审与选址意见书。
      02
      自治区自然资源厅办理项目范围:
      1.深度贫困地区、集中连片特困地区、国家扶贫开发工作重点县自治区级以下基础设施、易地扶贫搬迁、民生发展等建设项目,确实难以避让永久基本农田的,可以纳入重大项目建设范围,由自然资源厅核发建设项目用地预审与选址意见书;
      2.不涉及占用永久基本农田的建设项目,属于国家级审批、核准、备案的项目,部授权自然资源厅办理并核发建设项目用地预审与选址意见书;
      3.属于自治区级审批、核准的涉及自然保护区和生态保护红线内允许有限人为活动的项目及公路、铁路、机场、矿山、水利项目,由自然资源厅办理并核发建设项目用地预审与选址意见书。
      03
      盟市、旗县级办理项目范围:
      1.自治区委托盟市自然资源局办理并核发用地预审与选址意见书的项目;
      2.盟市、旗县级审批、核准、备案的建设项目按照分级预审(审批、核准、备案机关同级)原则,由相应自然资源局办理并核发建设项目用地预审与选址意见书。
      三、不需办理用地预审与选址意见书的情形
      1.国土空间规划确定的城市和村庄、集镇建设用地范围内的建设项目用地;
      2.油气类“探采合一”和“探转采”钻井及其配套设施建设用地;
      3.具备直接出让采矿权条件、能够明确具体用地范围的采矿用地;
      4.露天煤矿接续用地;
      5.水利水电项目涉及的淹没区用地(淹没区以外的用地需申请)。
      四、需要重新办理用地预审与选址意见书的情形
      1.用地预审与选址意见书自批准后三年内,需审批的未取得可行性研究报告批复,需核准的未取得项目申请报告(书)核准,需备案的未办理备案手续;
      2.项目农用地转用和土地征收申请总面积超预审总面积达到10%及范围重合度低于80%的(范围对比适用分期分段情形);
      3.重大建设项目在用地预审时不占永久基本农田、用地审批时占用的;
      4.土地用途发生重大调整的;
      建设项目用地预审与选址意见书批准后,用地未发生变化,仅被许可人发生变化的,不属于重新预审情形。
      五、办理用地预审与选址意见书需要提供哪些要件材料
      1.申请表;
      2.建设单位申请报告;
      3.盟市(扩权强县)自然资源局初审意见;
      4.项目建设依据;
      5.项目2000坐标系拐点坐标表;
      6.县级以上国土空间总体规划重点建设项目安排表(加盖公章并标注对应的项目名称);县级以上人民政府出具的建设项目纳入国土空间总体规划的承诺及“一张图”;项目位置图;平面布局图;
      7.自然保护区、占林地、草地的审核意见;
      8.水源地审核意见;
      9.文物遗址及文物保护单位审核意见;
      10.城镇开发边界和村庄建设边界外的交通、能源、水利等基础设施建设项目,如涉及占用耕地、永久基本农田、生态保护红线、无用地标准或超用地标准的,按照《节约集约用地论证分析专章编制与审查工作指南(试行)》要求提供分析专章。其他单独选址的建设项目可参照执行,也可按原规定执行。
      11.违法用地材料(不涉及违法用地的提供“现场查看记录表”)。
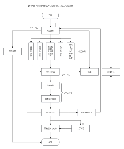
      六、自治区级用地预审与选址意见书办理流程及办理时限
      自然资源厅本级办理时限为7个工作日,各盟市、旗县办理时限原则上不得超过自然资源厅办理时限。
      七、可以占用永久基本农田的建设项目范围
      1.党中央、国务院明确支持的重大建设项目(包括党中央、国务院发布文件或批准规划中明确具体名称的项目和国务院批准的项目);
      2.中央军委及其有关部门批准的军事国防类项目;
      3.纳入国家级规划(指国务院及其有关部门颁布)的机场、铁路、公路、水运、能源、水利项目;
      4.纳入省级公路网规划的省级高速公路项目;
      5.按《关于梳理国家重大项目清单加大建设用地保障力度的通知》(发改投资〔2020〕688号)要求,列入需中央加大用地保障力度清单的项目;
      6.原深度贫困地区、集中连片特困地区、国家扶贫开发工作重点县省级以下基础设施、民生发展等项目。
      八、用地预审与选址意见书电子证照如何下载
      1、电脑端登录蒙速办
      2、未注册过的右上角选择注册,选择法人注册,按照要求填写相关信息完成注册。
      3、注册成功后返回蒙速办首页,选择法人登录,用注册账号登录。
      4、登录后选择右上角“用户中心”进入界面。
      5、进入用户中心,选择我的信息—电子证照,点击下载。
      6、点击下载后弹出“实人授权”,用法定代表人的手机上的个人蒙速办APP扫描二维码完成授权后可下载。
      九、先行用地审批依据
      1.《中华人民共和国土地管理法》;
      2.《建设用地审查报批管理办法》(国土资源部第69号令);
      3.《国土资源部关于进一步改进建设用地审查报批工作提高审批效率有关问题的通知》(国土资发〔2012〕77号);
      4.《国土资源部办公厅关于落实国家产业政策做好建设项目用地审查有关问题的通知》(国土资厅发〔2016〕33号);
      5.《国土资源部办公厅关于应用建设用地远程报批系统改进用地审查报批工作有关问题的通知》(国土资厅发〔2016〕48号)。
      十、申请先行用地的项目范围
      需报国务院批准用地的国家重大项目和省级高速公路项目,其控制工期的单体工程和因工期紧或受季节影响确需动工建设的其他工程可申请办理先行用地。
      先行用地申请规模原则上不得超过用地预审控制规模的30%。
      先行用地批准后,应于1年内提出农用地转用和土地征收申请。
      十一、申请先行用地的要件材料
      1.盟市自然资源局请示文件;
      2.建设项目用地预审与选址意见书批复文件;
      3.项目立项文件;
      4.初步设计批准文件或有关部门确认项目建设的文件;
      5.旗县(市区)人民政府对申请先行用地补偿安置情况的说明及承诺;
      6.嘎查(村)集体或国有单位同意先行用地的证明;
      7.建设单位或相关部门拨付先行用地补偿费的凭证及收款凭证;
      8.先行用地工程位置示意图;
      9.项目用地拐点坐标表(txt格式文件,2000国家大地坐标系);
      10.国家或自治区级林草主管部门出具的林地审核同意书或旗县级林草主管部门同意先行使用林地的意见(涉及占用林地项目提供);
      11.自治区林草部门出具的同意占用自然保护区的意见(涉及占用自然保护区的项目提供)。
      十二、先行用地审批层级
      除东部五盟市(呼伦贝尔、兴安盟、通辽、赤峰、锡林郭勒盟)先行用地报自治区自然资源厅审批外,其余项目均报自然资源部审批。
      来源:《内蒙古自然资源》微信公众号
     
      附件下载:
    相关文档